电动车辆充电时间长、车辆利用效率低、充电安全等问题长期以来都是电动车辆产业发展的瓶颈[1]。电动汽车充电过程中,由于电池充电性能的限制,充电时间、充电效率以及充电容量等充电需求相互矛盾,无法同时达到最优。为了提升电池综合充电性能表现,需要根据充电需求来调整充电策略[2]。
锂离子动力电池系统主要以传统的恒流恒压(CC-CV)充电方式为主。该方法简单、通用性强、不需要精确的锂电池模型,广泛应用于电动汽车充电控制[3-4]。但传统的CC-CV充电方式在电池充电时间、循环使用寿命、充电容量方面还有待改善[4]。本文通过相关检索,介绍CC-CV充电技术及其优化方法现状,为实际应用中提升充电速度提供参考。
1 恒流恒压充电方式的影响因素
1.1 恒流恒压充电的特点
CC-CV充电方式包括恒流充电过程和恒压充电过程[4]。恒流充电过程是指充电电流保持不变,电压逐渐升高,当达到预设的截止电压或荷电状态(SOC)时恒流充电过程结束;恒压充电是指充电电压保持不变,充电电流逐渐降低,当达到预设的截止电流或SOC时恒压充电过程结束。恒流恒压充电方法的电流-电压变化曲线如图1所示[4]。

图1 CC-CV充电过程电流-电压变化曲线
恒流恒压充电兼顾了恒压充电和恒流充电的优点,以磷酸铁锂电池为例,当单体电池电压低于3.65 V时,采用恒流充电方式保证充电电流不超过限值;当单体电池电压达到3.65 V时,采用恒压充电方式限制电池不过充,既保障了充电安全又能将电池充满[5]。
充电时间的影响因素主要有充电电流、温度、内阻等。充电电流对电池的充电速度影响较大,在实际工程应用中,CC-CV的恒流充电阶段主要采用增大充电电流的方式缩短充电时间,但是增大充电电流会带来电池及零部件温度升高、循环寿命缩短、低温析锂、高温热失控风险增大等一系列问题。
1.2 最大可接受电流对充电时间的影响
当充电电流过大时,锂离子未嵌入石墨而是与电子结合,在电芯负极表面还原形成树枝状金属锂。这种锂枝晶的生长会导致电池在循环过程中电极和电解液不稳定,会不断消耗电解液并导致金属锂的不可逆沉积,从而降低电池的库伦效率。这种导致金属锂不可逆沉积的现象称作锂沉积[6-7],也称析锂。锂枝晶的形成甚至会刺破隔膜,导致锂离子电池内部短路,造成电池的热失控,引发燃烧爆炸。
1.3 温度对充电时间的影响
电池充电特性对环境温度变化较为敏感。特别是在低温下,电化学反应速率降低、参与反应的锂离子数量减少,造成充电内阻增加,充电容量减少,甚至产生锂枝晶,造成内短路,威胁电动汽车使用安全。实际应用中需要将锂电池加热到较适宜的温度进行充电,加热时间越长、充电时间越长。在高温状态下充电存在热失控风险。为防止电池温度过高,可通过降低充电电流的方式,降低电池温度,但会造成充电时间变长。
1.4 内阻对充电时间的影响
锂电池内阻随SOC、环境温度等因素变化,不同温度下的欧姆内阻如图2所示:在0%~20%低SOC区域,SOC越低,锂离子运动阻力越大,对应的欧姆内阻越大;在40%~100% SOC阶段,电池内阻基本保持不变;相同SOC下,温度越低,电极活性越差,锂离子扩散运动速度越慢,欧姆内阻越大[8]。内阻增大会导致锂电池充放电过程极化电压增大,影响充电能量。同时,同一批次的电池参数存在差异,对电池系统充电速度也会产生影响。

图2 锂电池在不同温度下的欧姆内阻
2 恒流过程的充电策略优化
2.1 基于锂沉积机理的最大可接受电流寻优
文献[6]基于锂沉积机理推导出计算锂离子电池最大可接受充电电流的方法,为实现锂电池安全充电提供了理论和试验支撑。如果充电电流高于最大可接受充电电流,会发生锂沉积;反之锂沉积则不会发生。因此,采用最大可接受充电电流充电可以获得最短的充电时间。
获得最大可接受充电电流的关键参数是阳极平衡电位和阳极电荷转移电阻。阳极平衡电位根据SOC-OCV关系得出;阳极电荷转移电阻与活化电位和法拉电流相关,基于Butler-Volmer方程(BVE)可精确推导出阳极电荷转移电阻。根据阳极平衡电位和阳极电荷转移电阻得出最优充电电流,通过试验验证了最佳充电电流理论的可行性。
随着电池寿命的延长,内阻不断变化,通过预留出阈值电位的安全裕度来保证电池充电过程的安全, 不同阈电位下的充电状态对比见表1[6]。通过对锂离子电池的充电电流与锂沉积过电位之间关系的研究,得到最优充电电流,保证了在无锂沉积情况下的最大可接受电流。

表1 不同阈电位下的充电状态对比
2.2 基于MOGWO的充电目标优化
文献[9]基于锂离子电池等效电路模型、热模型和老化半经验模型,提出了一种多目标优化的锂离子电池优化充电框架,将充电时间、健康损失、电池温升作为充电的目标函数。基于多阶段充电优化策略,假设充电阶段数为M,充电电流序列I=[I1,I2,…,IM],充电时间T=[t1,t2,…,tM],充电多目标构造函数如下:
式中:Jt代表充电时间目标函数;Jte代表电池充电过程中的平均温升目标函数;Jl代表电池衰减目标函数;fI代表电池可用锂损失率;fp代表电池正极活性物质损失率;fn代表电池负极活性物质损失率;Q0代表电池的初始容量;M代表充电阶段数;Ik和tk分别代表第k充电阶段充电电流和时间;Ui和Us分别代表电压的下限和上限;Ii和Is分别代表充电电流的下限和上限;Ti和Ts分别代表电池温度的下限和上限;SOCi和SOCs分别代表电池荷电状态的下限和上限。
文献[9]采用多目标灰狼优化(MOGWO)算法实现充电目标优化求解,展示了优化后多目标的最优解,并分析了不同界解的性能。仿真结果表明,充电时间、健康损失和电池温升之间存在矛盾关系,更短的充电时间,意味着更大的平均电流,将会导致电池升温速度更快,电池的容量衰减更严重。
3 恒压过程的充电策略优化
3.1 基于FC-ASCC的充电优化
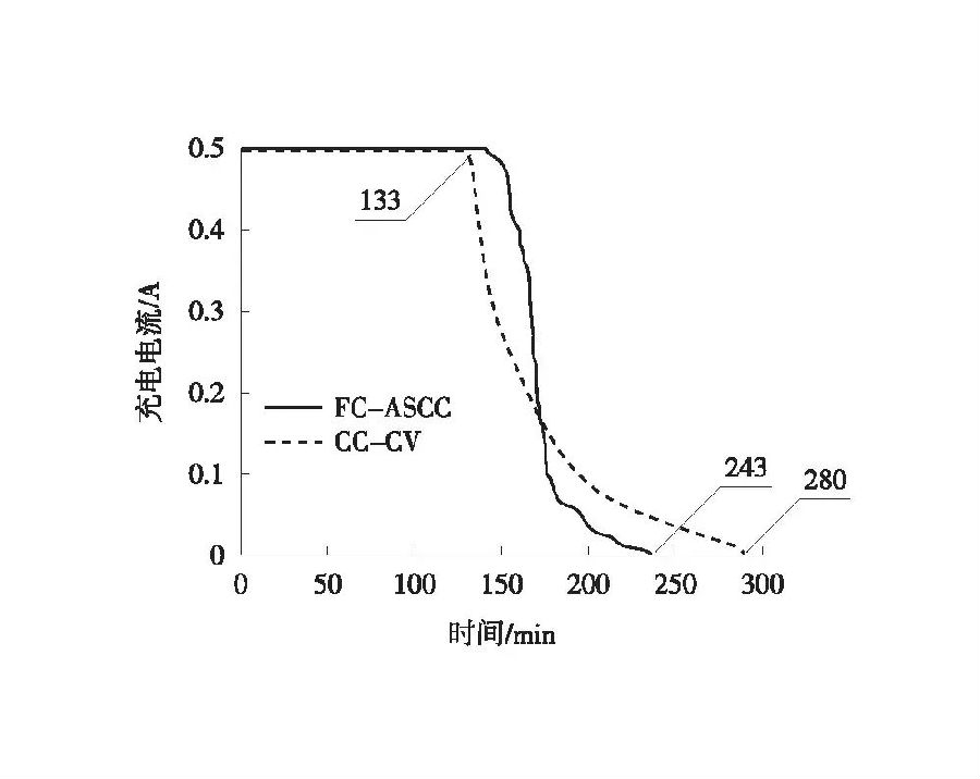
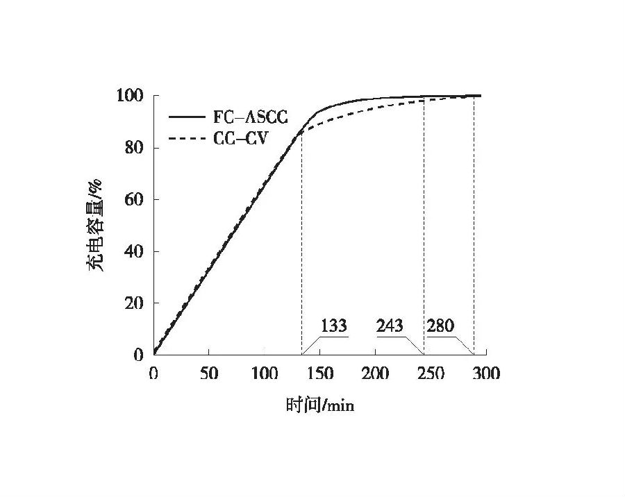
在传统CC-CV充电过程中,恒流阶段使用25%~40%的总时间,能够充入75%~80%的总容量;恒压阶段的充电效率相对很低,对CV段的改进成为优化的重点[10]。文献[10]设计了一种基于模糊控制的有源充电状态控制器(FC-ASCC),用于替代传统的恒压充电过程,如图3所示。在充电状态安全边界上,基于感知模式(SM)和充电模式(CM)建立FC-ASCC,FC-ASCC通过电流自寻优方法,为电池提供适宜的充电电流,提高充电速度。FC-ASCC优化技术和传统CC-CV方式充电数据对比如图4所示。由图4可知,相比传统CC-CV充电方法, FC-ASCC充电优化技术使充电时间缩短了23%[10]。

图3 FC-ASCC构成原理

(a) 充电电流

(b) 充电容量图4 FC-ASCC技术和CC-CV充电数据对比
3.2 极化电压优化技术
锂电池在充放电过程中存在极化现象,与电池充电效率密切相关。当电池大倍率充电时,极化电压变大,电池快速达到截止电压,造成恒压阶段的充电时间增加,导致整个充电过程时间变长[11-15],因此电池充电极化电压优化策略也是充电速率提升的重要研究方向之一。文献[15]通过分析锂电池在不同倍率条件下充电极化电压特性,表明极化电压在0~100% SOC范围内呈现两端高中间低的“碗状”形态,在中间段SOC区间,稳态极化电压与充电倍率近似呈线性关系;利用极化电压存在滞后效应和超调效应的特点,提出基于时间常数的充电边界电流曲线,并制定了相应的优化充电策略;在控制充电极化水平相近的前提下,基于极化电压特性优化充电策略相比0.5C CC-CV充电,充电倍率提高24%,充电时间缩短18%[15]。
3.3 基于MOPSO算法的多目标充电策略
文献[2]基于多目标优化理论,提出了一种基于多目标粒子群优化算法(MOPSO)的多目标充电策略。采用基于电压的多阶段充电控制方式,分别对3阶段、5阶段以及7阶段的充电策略进行研究。从帕累托(Pareto)解集中得出,当充电阶数从3增加到5时,充电时间优化较为明显;而当充电阶段数量从5增加到7时,充电时间优化并不明显。因此在实际应用中最终选取充电阶段数量多为5。
基于多目标与优化多段充电同恒流恒压充电相比,多阶段充电的第一阶段充电电流高于恒流恒压充电的恒流值,而第2~4阶段充电电流大幅度降低,低于恒流恒压充电的恒压阶段的电流值;由于多阶段充电的电流值更高,其充电电压要略高于恒流恒压充电。多目标充电策略与恒流恒压充电数据对比见表2[2]。

表2 充电时间、充电容量以及电池温升对比
由表2可知,多目标优化后的多阶充电策略的充电时间比传统恒流恒压充电的充电时间缩短了6.6%,最大电池温升降低了2.6%。多阶段充电在充电时间和最高电池温升方面相对于恒流恒压充电都有一定的提升,验证了多阶段恒流充电策略的优越性。
3.4 自适应的多段恒流充电策略
文献[8]基于一阶RC等效电路模型、热网络模型以及老化模型,建立了锂电池的SOC-SOH-SOT多状态联合估计模型来模拟锂电池的响应特性,提出了一种电流阶数自适应的多段恒流充电策略(SMCC),利用基于粒子群(PSO)算法求解不同权重系数下的最优充电策略,得到3种最优充电策略:最短时间充电策略、最小老化充电策略和平衡充电策略。
研究结果表明:不考虑电池的老化损失,只追求充电时间的最短时间充电策略与2C CC-CV策略充电时间相当,与1C CC-CV策略相比充电时间缩短了44.98%(见表3[8]);最小老化充电策略的充电时间比0.1C CC-CV策略缩短了61.7%,单次充电的老化损失仅为0.839 3%,与1C CC-CV策略相比充电时间延长了2.81倍;既考虑充电时间,也考虑电池寿命的平衡充电策略相比于0.5C CC-CV策略,在增加6.4%老化损失的情况下,减少了44.9%的充电时间,与1C CC-CV策略相比充电时间延长了9.8%,在追求快速、健康充电方式上,平衡充电策略具有很大的优势。

表3 不同充电方式的充电时间及温升对比
4 结束语
目前锂电池的充电技术优化主要包括两个方面,一是恒流充电阶段优化,基于锂沉积机理的最大可接受电流寻优和分阶段恒流充电,以及基于数学模型的不同工况下的多目标的优化充电,提升恒流阶段的充电效率,满足整车短时快速补电的需求;二是恒压充电阶段优化,通过充电电流寻优替代恒压充电阶段,以及基于自适应算法的多阶段恒流充电取代传统的恒流恒压充电方案,优化充电末端时间,缩短充电时间,提升客户满意度。